Ga naar de inhoud
Welkom bij Uniconstruct
Geef uw postcode in om geholpen te worden door de partner van het Uniconstruct-netwerk in uw regio.

Draadanker - heavy duty combi anker

Draadanker - heavy duty combi anker

Omschrijving

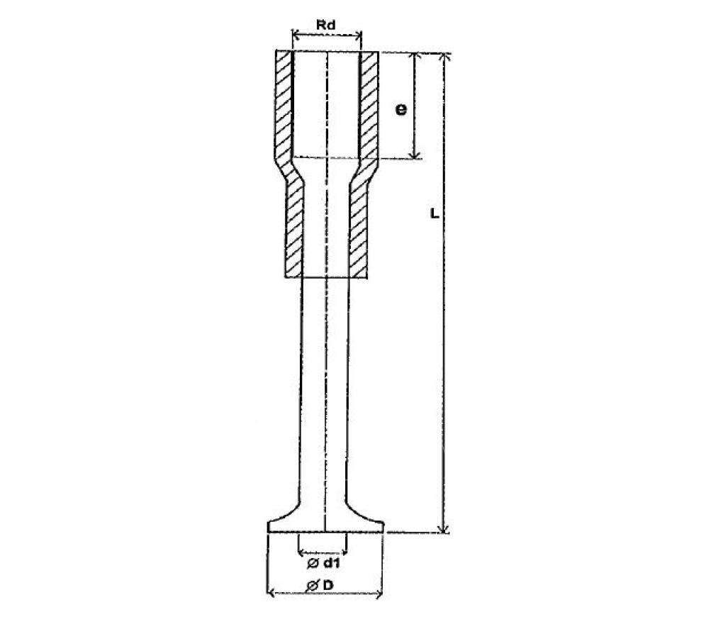
Hijsanker met huls aan de bovenzijde, en afgeschuind uiteinde voor spreiding van de uittrekkracht.

Werkwijze

  • Draagkracht enkel mits toepassing van alle plaatsingsvoorschriften
  • Geen extra beugels in betonijzer te voorzien bij axiaal tillen (90°)
  • De draagkracht wordt enkel bereikt wanneer de ankers minstens 3x hun lengte, van de rand en van elkaar verwijderd zijn. Dit bij een betonsterkte van 25N/mm²

Bekijk meer details in de volledige catalogus betreffende de transportankers.

Lees meer

Offcanvas